面向机器人和智能制造领域的创新成果产业化公共服务平台---工信部
登录
注册
我的订单
面向机器人和智能制造领域的创新成果产业化公共服务平台
首页
专利展示
成果展示
需求对接
行业资讯
关于我们
行业分类
机械
汽车
航空
船舶
电子信息
海洋
生物
技术类别
工业机器人
水下机器人
仿生机器人
群体机器人
生物机器人
手术机器人
智能装备
系统组成
机械部分
传感部分
控制部分
驱动系统
人机交互系统
[日本专利]中空型内摆线行星减速器
2026-02-09
[意大利]卧式数控双刀车花机
2026-02-09
坡口切割控制方法及装置、存储介质及激光切割设备
2025-12-18
板材抓取上料在线测厚装置
2025-12-18
示教轨迹修改方法、装置、设备及存储介质
2025-12-18
一种传送装置
2025-12-18
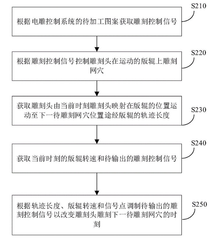
雕刻控制信号补偿方法、装置、设备及存储介质
2025-12-18
基于温度补偿的测距装置、方法、系统和调高器设备
2025-12-18
基于机器视觉的电雕驱动方法、装置和电雕控制系统
2025-12-18
基于分频倍频的雕刻方法、装置、计算机设备和存储介质
2025-12-18
多机器人自主控制系统
2025-12-18
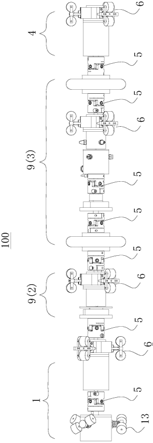
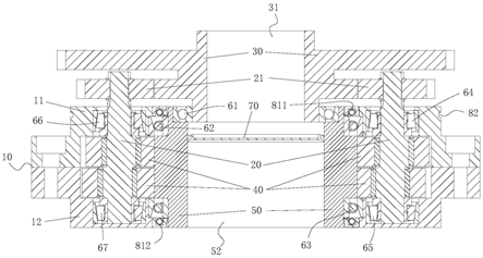
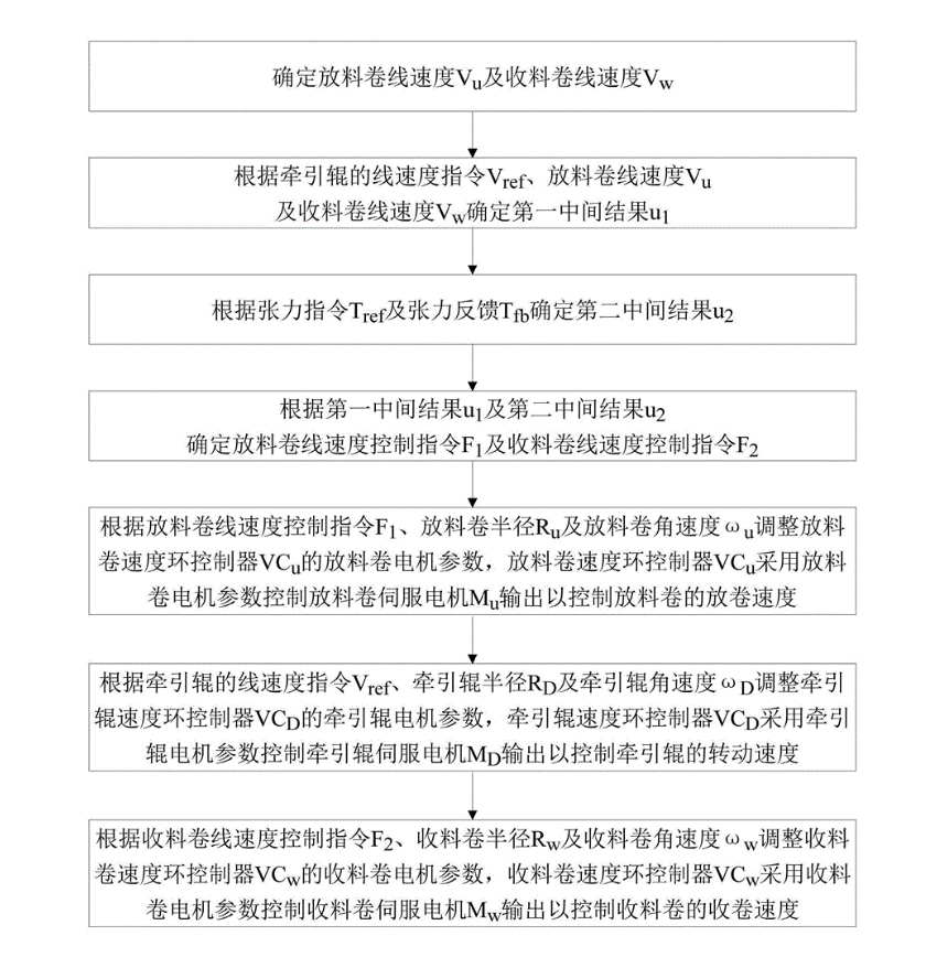
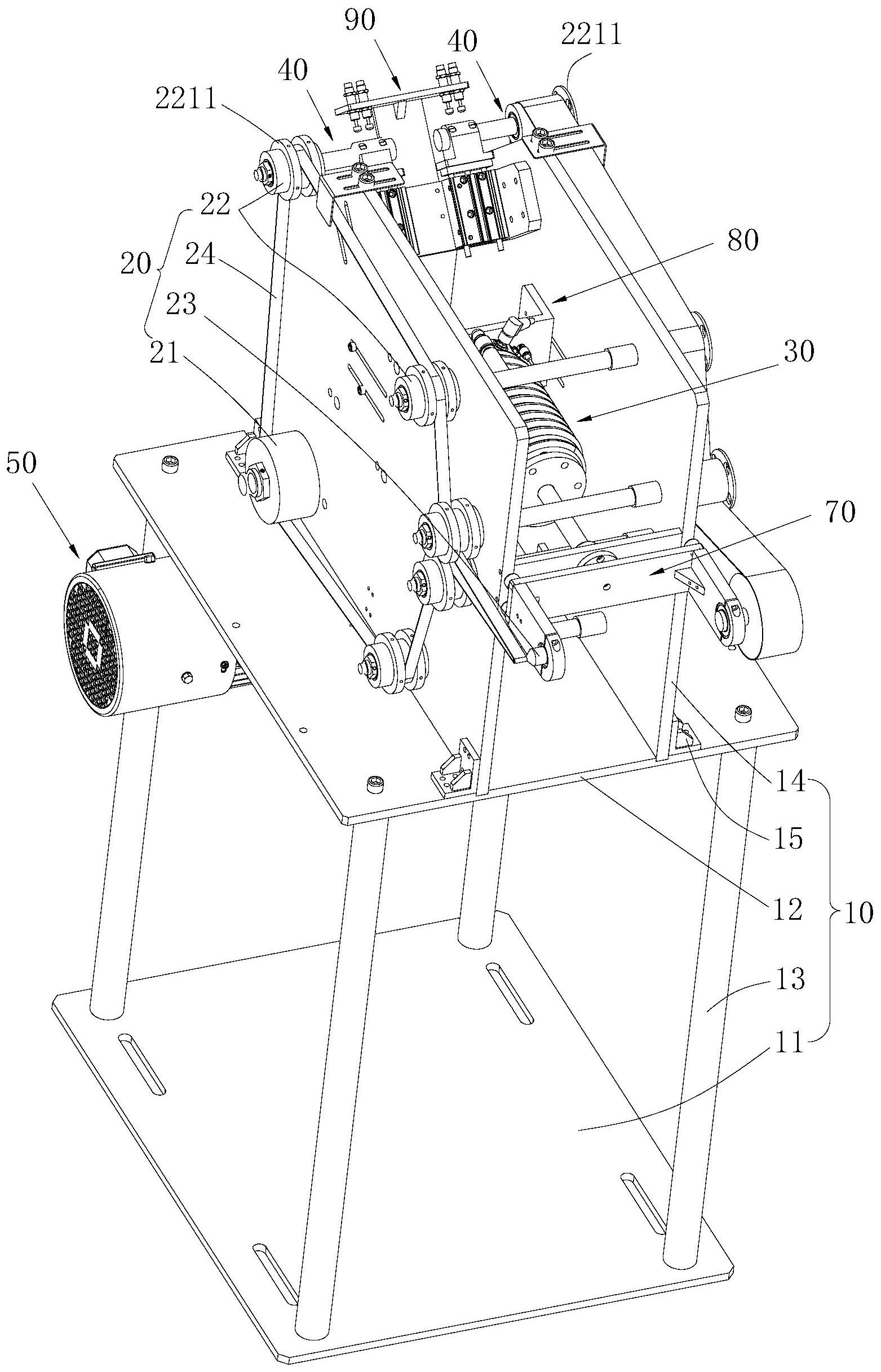
高速收放卷的控制方法、控制系统及分切机
2025-12-18
驱动方法、装置、电雕控制系统和计算机可读存储介质
2025-12-18
驱动方法、装置、电雕控制系统和计算机可读存储介质
2025-12-18
补偿方法、装置、电雕控制系统、计算机可读存储介质
2025-12-18
电雕控制系统及电雕机
2025-12-18
快刀伺服系统和电雕系统及电雕控制方法
2025-12-18
调整网穴位置的雕刻控制方法、装置和电雕控制系统
2025-12-18
电雕控制方法、装置、电雕控制系统和存储介质
2025-12-18
扭杆机构、电雕头和电雕制版设备
2025-12-18
一种多电机交叉同步控制系统
2025-12-18
机械手及其自动定心夹紧夹具
2025-09-04
一种管道机器人
2025-09-04
精确定位自动回复装置及细菌菌落挑取仪
2025-09-04
可调幅正弦机构
2025-09-04
一种应用于电液成形的全固态高压脉冲发生电路及装置
2025-09-04
恒扭矩轮式越障机器人
2025-09-04
一种爪式机器人越障车轮
2025-09-04
一种RV减速器检测装置
2025-09-04
高精度打磨装置及高精度打磨机器人
2025-09-04
自动菌落挑选仪
2025-09-04
细菌菌落挑取仪
2025-09-04
一种中空无针齿的内摆线行星减速器
2025-09-04
一种内摆线行星减速器
2025-09-04
中空型内摆线行星减速器
2025-09-04
一种摆线行星减速器、机械设备工装
2025-09-04
一种三级减速行星减速器、工业机器人
2025-09-04
清洗装置
2025-09-03
除冰机器人
2025-09-03
储物转塔及自动储物系统
2025-09-03
菌落挑取仪
2025-09-03
一种室内装修机器人
2025-09-03
除冰机器人
2025-09-03
钢管焊缝质量检测装置
2025-09-03
定位装置及自动化打磨工作站
2025-09-03
自动菌落挑选仪及挑选方法
2025-09-03
菌落自动挑选装置
2025-09-03
水下航行器控制方法
2025-09-03
移动式自动储物系统
2025-09-03
应用于合成生物学的自动化铸造平台集成系统和自动化生物合成方法
2025-09-03
一种光栅衍射角谱自动测量系统
2025-09-03
一种基于PDMS的柔性光栅的制作方法及装置
2025-09-03
多光谱成像方法、存储介质及设备
2025-09-03
定位装置、自动化打磨工作站及上料打磨方法
2025-09-03
打磨装置
2025-09-03
一种用于种植体数控加工的螺旋轨迹平滑压缩方法
2025-08-29
板材柔性多点模具电液复合成形设备
2025-08-29
一种LED照明多光谱成像控制系统
2025-08-29
一种谐波减速器用柔性轴承以及谐波减速器
2025-08-29
仿生鱼尾及仿生机器鱼
2025-08-29
围压空化水射流清洗装置
2025-08-29
基于攻角法的仿生机器鱼定深控制方法和装置
2025-08-29
一种机器人的定位方法、系统及应用
2025-08-27
激光雷达和深度相机联合标定的标定板、标定方法和系统
2025-08-27
一种水下机器人
2025-08-27
夹具及机器手
2025-08-27
一种水下机器人
2025-08-27
一种水下运动机构及水下机器人
2025-08-27
一种用于种植体加工的数控机床
2025-08-27
一种种植体加工机床用的自动换刀装置
2025-08-27
一种用于压滤机去泥饼的自动化设备
2025-08-27
机器人标定装置
2025-08-15